Versuche zum Vogelflug
Infobox
Diese Seite ist Teil einer Materialiensammlung zum Bildungsplan 2004: Grundlagen der Kompetenzorientierung. Bitte beachten Sie, dass der Bildungsplan fortgeschrieben wurde.
Material:
- Fön
- 2 Streifen Tonpapier
- 4 Fotokartons DIN-A4, zwei davon die über der Tischkante gebogen
- 1 Blatt Papier
- Buch
- Daunenfeder
-
Vogelflug
Schlüter-Funktionsmodell nach Leibold (225.114)
|
Versuch
1a
Durchführung:
|
|
|
Beobachtung: s. Abbildung Auswertung:
Strömt Luft
über gewölbte Flügel, entsteht ein Sog senkrecht zum
Luftstrom.
|
|
|
Versuch
1b
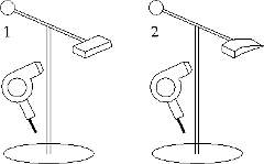
Durchführung: Blase von oben mit einem Fön
|
|
|
Beobachtung: s. Abbildung Auswertung : Strömt Luft über gewölbte Flügel, entsteht ein Sog senkrecht zum Luftstrom.
|
|
|
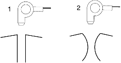
Versuch 1c
Durchführung:
|
|
|
Beobachtung: Der gewölbte Flügel geht nach oben, der gerade bewegt sich nicht. Je stärker der Luftstrom, desto weiter bewegt sich der gewölbte Flügel nach oben. Auswertung : Strömende Luft und gewölbte Flügel ermöglichen Fliegen. |
|
|
Versuch
2
Durchführung: Stelle das Buch so auf den Tisch, wie es die Abbildung zeigt. Das Buch soll einen Berghang darstellen.
|
|
|
Beobachtung: Die Daune fällt bei angeschaltetem Fön nicht nach unten, sie wird nach oben getragen. Auswertung: Auftrieb entsteht auch dadurch, dass horizontale Winde an Berghängen nach oben umgeleitet werden. |
|
Fotos von Segelflugzeugen
Bildquelle: ZPG Biologie
Versuche zum Vogelflug: Herunterladen [doc] [181 KB]
Versuche zum Vogelflug: Herunterladen [pdf] [145 KB]
Fotos Segelflugzeug: Herunterladen [doc] [1,8 MB]
Fotos Segelflugzeug: Herunterladen [pdf] [9,3 MB]
Weiter zu Vogelzug